Contents
Bản vẽ xi lanh thủy lực không chỉ là một tài liệu kỹ thuật mà còn là nền tảng quan trọng giúp kỹ sư, nhà thiết kế và nhà sản xuất hiểu rõ về cấu trúc, thông số và nguyên lý hoạt động của xi lanh.
Bản vẽ xi lanh thủy lực là gì?

Bản vẽ xi lanh thủy lực là một thiết kế kỹ thuật mô tả chi tiết cấu tạo, nguyên lý hoạt động, kích thước và các thông số quan trọng của xi lanh thủy lực. Đây là tài liệu bắt buộc trong quá trình thiết kế, chế tạo, lắp ráp và bảo trì xi lanh thủy lực trong các hệ thống cơ khí, công nghiệp.
Xem thêm: Kích thước xi lanh thủy lực – Cách lựa chọn kích thước phù hợp với từng ứng dụng
Vai trò của bản vẽ xi lanh thủy lực
Bản vẽ xi lanh thủy lực không chỉ là một bản thiết kế đơn thuần mà còn là công cụ quan trọng giúp tối ưu hóa quá trình sản xuất, nâng cao hiệu suất vận hành, đảm bảo tính an toàn và kéo dài tuổi thọ xi lanh.
Hướng dẫn sản xuất chính xác, đảm bảo chất lượng đầu ra
Bản vẽ xi lanh thủy lực đóng vai trò như một bản hướng dẫn chi tiết giúp các kỹ sư và nhà sản xuất gia công chính xác từng bộ phận theo đúng kích thước và dung sai cho phép.
- Định rõ đường kính trong xi lanh, đường kính ty, hành trình làm việc, áp suất thiết kế, giúp đảm bảo xi lanh có khả năng chịu tải phù hợp.
- Xác định độ dày thành ống, độ cứng của ty thủy lực, vật liệu chế tạo piston và phớt, tối ưu hóa độ bền và hiệu suất hoạt động.
- Giảm thiểu sai số trong gia công, đảm bảo tính đồng nhất giữa các sản phẩm, đặc biệt là với xi lanh sản xuất hàng loạt.
Tối ưu hóa thiết kế, tăng tuổi thọ và hiệu suất hoạt động
Thiết kế xi lanh thủy lực không chỉ đơn thuần là lựa chọn kích thước mà còn phải tính toán để đảm bảo:
- Lực đẩy/kéo phù hợp với tải trọng công việc, tránh tình trạng xi lanh hoạt động quá tải gây biến dạng hoặc vỡ piston.
- Độ kín và khả năng chống rò rỉ dầu bằng cách tối ưu vị trí lắp phớt, cổng dầu, hệ thống dẫn hướng.
- Giảm ma sát và hao mòn bằng cách lựa chọn vật liệu phù hợp
Dễ dàng bảo trì, sửa chữa và thay thế linh kiện
Bản vẽ xi lanh giúp các kỹ thuật viên bảo trì và sửa chữa dễ dàng hơn bằng cách:
- Xác định vị trí các bộ phận hao mòn nhanh như phớt làm kín, bạc dẫn hướng, piston… giúp kiểm tra và thay thế kịp thời.
- Cung cấp thông số chi tiết để gia công lại hoặc đặt hàng các linh kiện thay thế chính xác, giảm thời gian chờ đợi và chi phí sửa chữa.
- Giúp dễ dàng tái sản xuất hoặc nâng cấp xi lanh mà không làm gián đoạn hoạt động của hệ thống.
Các thông số quan trọng trên bản vẽ xi lanh thủy lực

Xem thêm: Cấu tạo xi lanh thủy lực và từng cách phân loại
Bản vẽ xi lanh thủy lực chứa nhiều thông số quan trọng giúp xác định chính xác khả năng làm việc, tải trọng chịu đựng và tuổi thọ của xi lanh. Dưới đây là ý nghĩa chi tiết của từng thông số kỹ thuật phổ biến:
- Đường kính Piston: Là đường kính trong của ống xi lanh, nơi piston di chuyển để tạo lực đẩy/kéo. Thông số này quyết định lực tạo ra của xi lanh thủy lực.
- Đường kính cần: Là đường kính của ty xi lanh – bộ phận di chuyển ra vào để truyền lực. Thông số này quyết định khả năng chịu lực uốn và tải trọng kéo.
- Hành trình: Là khoảng cách piston di chuyển tối đa trong xi lanh, quyết định chiều dài làm việc của cần xi lanh. Thông số này giúp xác định khoảng di chuyển của xi lanh: Hành trình lớn thì xi lanh có thể đẩy/kéo vật xa hơn.
- Áp suất làm việc: Là mức áp suất dầu trung bình mà xi lanh có thể hoạt động an toàn liên tục. Thông số này quyết định lực đầu ra của xi lanh thủy lực: Nếu áp suất cao hơn mức thiết kế, xi lanh có thể bị rò rỉ, phớt bị hỏng hoặc thậm chí nổ vỡ.
- Áp suất tối đa: Là mức áp suất dầu cao nhất mà xi lanh có thể chịu đựng trong thời gian ngắn. Đây là mức áp suất cực hạn, không nên vận hành liên tục ở mức này vì có thể gây phá hủy phớt, nứt ống xi lanh.
- Nhiệt độ làm việc: Khoảng nhiệt độ môi trường mà xi lanh có thể hoạt động ổn định mà không ảnh hưởng đến vật liệu, dầu thủy lực và phớt.
Bản vẽ xi lanh thủy lực phổ biến
Dưới đây là một số bản vẽ xi lanh thủy lực phổ biến và các thông số đính kèm:
Xi lanh Dock Leveler hành trình 150mm

Thông số:
- Đường kính Piston: Ø40mm
- Đường kính cần: Ø30mm
- Hành trình: 150mm
- Áp suất làm việc: 20MPa
- Áp suất tối đa: 250MPa
- Nhiệt độ làm việc: 60°C
Xi lanh hành trình 350mm

Thông số:
- Điện áp nguồn: 12VDC, 24VDC, 48VDC
- Đường kính Piston: Ø63mm
- Đường kính cần: Ø40mm
- Chống nước và bụi: IP69K
- Nhiệt độ làm việc: -40 – 80°C
- Áp suất làm việc: 20MPa
- Áp suất tối đa: 250MPa
Xi lanh bẻ đai hành trình 240mm
![]()
Thông số:
- Đường kính Piston: Ø50mm
- Đường kính cần: Ø30mm
- Hành trình: 240mm
- Nhiệt độ làm việc: 60°C
- Áp suất làm việc: 20MPa
- Áp suất tối đa: 250MPa
Xem thêm: Xi lanh thủy lực bị trôi – Nguyên nhân và cách khắc phục
Xi lanh bàn nâng hành trình 245mm
![]()
Thông số:
- Đường kính Piston: Ø50mm
- Đường kính cần: Ø30mm
- Hành trình: 245mm
- Áp suất làm việc: 20MPa
- Áp suất tối đa: 250MPa
- Nhiệt độ làm việc: 60°C
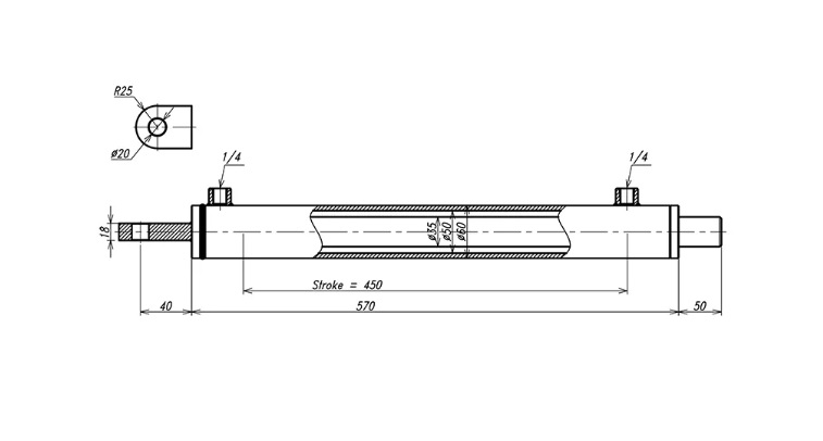
Xi lanh bửng nâng hành trình 450mm
![]()
Thông số:
- Đường kính Piston: Ø50mm
- Đường kính cần: Ø35mm
- Hành trình: 450mm
- Áp suất làm việc: 20MPa
- Áp suất tối đa: 210MPa
- Nhiệt độ làm việc: 60°C
- Màu sắc: Đen, xanh, xám
Xi lanh bửng nâng hành trình 560mm
![]()
Thông số:
- Đường kính Piston: Ø50mm
- Đường kính cần: Ø35mm
- Hành trình: 560mm
- Áp suất làm việc: 20MPa
- Áp suất tối đa: 250MPa
- Nhiệt độ làm việc: 60°C
- Bảo hành: 12 tháng
Xi lanh bửng nâng hành trình 700mm
![]()
Thông số:
- Điện áp nguồn: 12VDC, 24VDC, 48VDC
- Tải trọng tối đa: 2000 kg
- Nhiệt độ làm việc: 60°C
- Đường kính Piston: Ø50mm
- Đường kính cần: Ø35mm
- Hành trình: 700mm
- Áp suất làm việc: 20MPa
- Áp suất tối đa: 250MPa
Xi lanh bửng nâng hành trình 820mm
![]()
Thông số:
- Đường kính Piston: Ø50mm
- Đường kính cần: Ø35mm
- Hành trình: 820mm
- Áp suất làm việc: 20MPa
- Áp suất tối đa: 250MPa
- Nhiệt độ làm việc: 60°C
- Trọng lượng: 25 – 120 kg
Việc nắm vững bản vẽ xi lanh thủy lực giúp tối ưu hóa thiết kế, đảm bảo khả năng chịu tải, hiệu suất làm việc và tuổi thọ của xi lanh trong hệ thống thủy lực. Hy vọng bài viết sẽ giúp ích cho bạn đọc.